1.背景技術
電磁流量計是利用法拉第的電磁感應定律,即導電性液體在垂直于磁場的非磁性測量導電性液體在垂直于磁場的非磁性測量管內流動,與流動方向垂直的方向上會產生與流量成比例的感應電勢,我們根據感應電動勢的大小就可以知道流過的流量大小。電磁流量計電極的作用是從測量管中引出感應電動勢,而測量的介質可以是帶腐蝕性的各種液體,因此電極的密封和絕緣是非常重要的。參見圖4、圖5,現有的電磁流量計電極的安裝結構是這樣的:其包括金屬外管1、襯里2和電極3,襯里2設置在金屬外管1中,金屬外管的管壁設有用于電極3穿過的過孔,襯里2上設有與金屬外管上的過孔同心的裝配圓孔,電極3包括電極桿31和位于電極桿一端的電極圓頭32,電極桿31和電極圓頭32成型為體,電極桿31穿過襯里的裝配圓孔和金屬外管的過孔,電極圓頭32與襯里2內壁相接觸形成密封面。
現有的這種安裝結構對電極桿的對中性要求較高,而金屬外管上的過孔和襯里的裝配圓孔在加工過程中存在同心度偏差,以及利用預緊工裝來裝配電極桿時也會使電極桿產生傾斜,從而無法保證電極桿完全對中,這樣就可能導致*后的電極桿裝配出現不同程度的傾斜,致使電極的電極圓頭與襯里之間的密封出現不均勻性,使得電極與襯里之間的密封不可靠,導致傳感器測量出現問題。
2.實施內容
本文所述的是一種電磁流量計電極的安裝結構,提高電極的電極桿的對中性,以及電極與襯里之間的密封性能。技術方案是:一種電磁流量計電極的安裝結構,包括金屬外管、襯里和電極,其中,襯里設置在金屬外管中,電極包括電極桿和位于電極桿一端的電極圓頭,金屬外管的管壁設有過孔,所述襯里設有與金屬外管上的過孔同心的裝配孔,電極桿穿過襯里的裝配孔和金屬外管的過孔,其特征在于,所述電極桿與所述電極圓頭之間設有電極圓錐段,所述裝配孔的內側孔口具有與所述電極圓錐段相配合的圓錐形的倒角面,所述電極圓頭與所述襯里的內壁之間相接觸形成*密封面,所述電極圓錐段與所述裝配孔的倒角面之間相接觸形成第二密二封面。
所述電極桿、所述電極圓頭與所述電極圓錐段為一體成型。
本電磁流量計電極安裝結構有益效果是:由于本裝置的電極桿與電極圓頭之間設有電極圓錐段,裝配孔的內側孔口具有與電極圓錐段相配合的圓錐形的倒角面,電極圓頭與襯里的內壁之間相接觸形成*密封面,電極圓錐段與裝配孔的倒角面之間相接觸形成第二密封面,相對于現有技術而言,本實用新型增加了第二密封面,從而提高了電極與襯里之間的密封性能,同時襯里裝配孔的圓錐形倒角面能夠對電極圓錐段進行導向,保證了電極桿與裝配孔之間的對中度,避免了電極桿在安裝過程中產生傾斜,進一步提高了電極與襯里之間的密封性能。
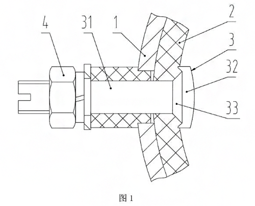
附圖說明
圖1為本新型的結構示意圖;

圖2為本新型中的襯里的結構示意圖;

圖3為本新型中的電極的結構示意圖

圖4為現有技術的結構示意圖;

圖5為現有技術中的電極的結構示意圖。
3.具體實施方式
下面結合附圖和實施例對電磁流量計電極的安裝結構作進一步說明
參見圖1~圖3,一種電磁流量計電極的安裝結構,包括金屬外管1、襯里2和電極3,其中,襯里2設置在金屬外管1中,電極3包括電極桿31和位于電極桿31一端的電極圓頭32,電極桿31與電極圓頭32之間設有電極圓錐段33,電極桿31上設有螺紋,電極桿31、電極圓頭32與電極圓錐段33為一體成型。金屬外管1的管壁設有過孔,樹里2設有與金屬外管1上的過孔同心的裝配孔2a,裝配孔2a的內側孔口具有與電極圓錐段33相配合的圓錐形的倒角面2a'。電極桿31穿過襯里的裝配孔2a和金屬外管1的過孔,電極圓頭32與襯里2的內壁之間相接觸形成*密封面,電極圓錐段33與裝配孔的倒角面2a'之間相接觸形成第二密封面,電極桿31的螺紋部安裝鎖緊螺母4從而將電極與金屬外管1相固定。
上一條:
電磁流量計接線及屏蔽連接要注意以下幾點
下一條:
流量計在線實流檢定的計量特點